Redis 线程模型
请说说 Redis 的线程模型?
艿艿:这个是我从网络上找的资料,讲的灰常不错。一般来说,回答道 Redis 是非阻塞 IO ,多路复用。
Redis 内部使用文件事件处理器 file event handler,这个文件事件处理器是单线程的,所以 Redis 才叫做单线程的模型。它采用 IO 多路复用机制同时监听多个 Socket,根据 Socket 上的事件来选择对应的事件处理器进行处理。
文件事件处理器的结构包含 4 个部分:
- 多个 Socket 。
- IO 多路复用程序。
- 文件事件分派器。
- 事件处理器(连接应答处理器、命令请求处理器、命令回复处理器)。
多个 Socket 可能会并发产生不同的操作,每个操作对应不同的文件事件,但是 IO 多路复用程序会监听多个 socket,会将 socket 产生的事件放入队列中排队,事件分派器每次从队列中取出一个事件,把该事件交给对应的事件处理器进行处理。
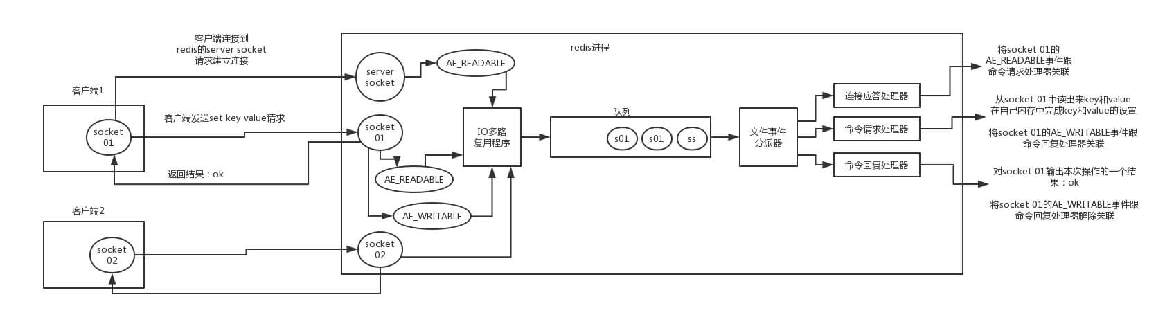
来看客户端与 redis 的一次通信过程:
redis-single-thread-model
- 客户端 Socket01 向 Redis 的 Server Socket 请求建立连接,此时 Server Socket 会产生一个 AE_READABLE 事件,IO 多路复用程序监听到 server socket 产生的事件后,将该事件压入队列中。文件事件分派器从队列中获取该事件,交给连接应答处理器。连接应答处理器会创建一个能与客户端通信的 Socket01,并将该 Socket01 的 AE_READABLE 事件与命令请求处理器关联。
- 假设此时客户端发送了一个 set key value 请求,此时 Redis 中的 Socket01 会产生 AE_READABLE 事件,IO 多路复用程序将事件压入队列,此时事件分派器从队列中获取到该事件,由于前面 Socket01 的 AE_READABLE 事件已经与命令请求处理器关联,因此事件分派器将事件交给命令请求处理器来处理。命令请求处理器读取 Scket01 的 set key value 并在自己内存中完成 set key value 的设置。操作完成后,它会将 Scket01 的 AE_WRITABLE 事件与令回复处理器关联。
- 如果此时客户端准备好接收返回结果了,那么 Redis 中的 Socket01 会产生一个 AE_WRITABLE 事件,同样压入队列中,事件分派器找到相关联的命令回复处理器,由命令回复处理器对 socket01 输入本次操作的一个结果,比如 ok,之后解除 Socket01 的 AE_WRITABLE 事件与命令回复处理器的关联。
这样便完成了一次通信。😈 耐心理解一下,灰常重要。如果还是不能理解,可以在网络上搜一些资料,在理解理解。
本文由作者按照 CC BY 4.0 进行授权
